2021年9月8日梳理一下重要信息。
****************************
1、请大家务必用1分钟把这篇文章看完!
2、热门景点在第“六”点
3、行程在第“七”点(仅参考)
4、切记!点击『当前位置』,在九寨沟跟随路线游玩。
****************************
九寨沟官网链接如下 :
:
********
********
一、  和药九寨
九寨沟的得名来自于景区内九个藏族寨子(树正寨、则查洼寨、黑角寨、荷叶寨、盘亚寨、亚拉寨、尖盘寨、热西寨、郭都寨),这九个寨子又称为“和药九寨”。由于有九个寨子的藏民世代居住于此,故名为“九寨沟”。
(下图九寨沟地图)
-
(下图九寨沟官网地图)
-
二、门票、人流
下面是九寨沟官网门票链接,
可点击查看 最新情况
最新情况
-------
https://www.jiuzhai.com/intelligent-service/tickets
-------
比如,2021年9月7日查询门票如下图
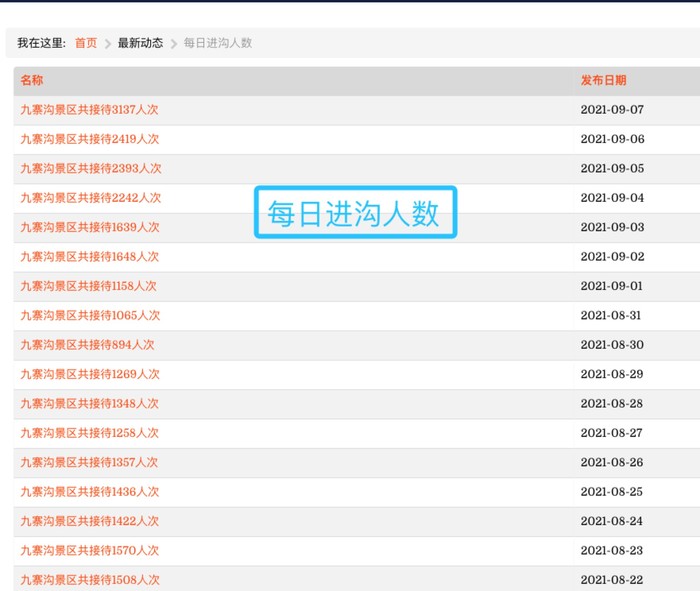
下面是“每日进沟人数”链接,
可点击查看 最新统计
最新统计
-------
https://www.jiuzhai.com/news/number-of-tourists
-------
比如,2021年9月7日查询人流如下图
-

三、游玩:乘车+步行
1、九寨沟景区往返全程98公里(包括因地震损毁关闭的景点:原始森林、熊猫海等),观光巴士运行时间大概要130分钟;
2、诺日朗游客服务中心(午餐、自助餐)大概需要30-40分钟。
3、为了确保景区乘车安全和观赏效果,观光巴士限速60公里/小时。
-
-
(下图,各个站点距离、时间)
-
(下图观光车)
四、特点
1、六绝
高山湖泊群、瀑布、彩林、雪峰、蓝冰和藏族风情并称“九寨沟六绝”。
2、地质遗迹钙化湖泊
比如:双龙海
3、滩流
比如:盆景滩
4、瀑布景观
比如:珍珠滩瀑布、诺日朗瀑布
5、岩溶水系统
6、森林生态系统
五、童话世界
九寨沟享誉中外,东方人称之为“人间仙境”,西方人则将之誉为“童话世界”。
目前,九寨沟景区仅保留了“树正寨、荷叶寨、则查洼寨”这三个村寨,善良淳朴的他们,用微笑迎接着前来九寨沟的每一个人。而在这些村寨中,最壮观的莫过于树正寨前的“九宝莲花菩提塔”,七彩经幡随风飘荡,圣洁的白塔在阳光下仿若闪着光,这里也是众多游客到来时,都会双手合十,轻声祭拜的地方。
(下图树正寨)
六、景点介绍
九寨沟必打卡的6个景点:
热门第1:五花海
热门第2:五彩池
热门第3:珍珠滩瀑布
热门第4:长海
热门第5:诺日朗瀑布
热门第6:镜海
-
其它比较有特色的景点有“芦苇海、树正群海”,如果行程很紧张,只能放弃。
-
1、五花海
五花海海拔2472米,水深5米,面积9万平方米,被誉为“九寨沟一绝”和“九寨精华”,在珍珠滩瀑布之上,熊猫湖的下部于日则沟孔雀河上游的尽头。一个湖泊,被大自然调和成五彩绚丽的靓景,那是人工永远无法缔造的一道壮观景象。
(下图五花海,有更好的图片,可以评论替换)
2、五彩池
从长海下行1公里即为五彩池,五彩池海拔2995米,深6.6米,深藏于公路下边的深谷中。五彩池虽在九寨沟众海中最小巧玲珑,然而它的色彩却是最为斑斓,与五花海不相上下。五彩池异常清澈,透过池水,可见到池底岩面的石纹,由于池底沉淀物的色差以及池畔植物色彩的不同,原本湛蓝色的湖面变得五彩斑斓。是九寨沟湖泊中的精粹,也是最精致的海子,被人称为“九寨之眼”。
(下图五彩池)
3、珍珠滩瀑布
珍珠滩瀑布海拔2445米,瀑布高21米,宽162米,是九寨沟内一个典型的组合景观,是电视剧《西游记》片头中,唐僧师徒牵马涉水的地方。珍珠滩瀑布,如银河天降,气势磅礴,在山谷中发出惊天动地的轰鸣声,气势非凡。宽阔的瀑布冲进谷底,咆哮如雷,卷出千堆浪花,在翠谷中涌起水雾,既而向东狂奔而去,水声雷动,山涧沸腾,气势磅礴。
(下图珍珠滩瀑布)
4、长海
长海,海拔3060公尺,长约五公里,宽约六百多公尺,面积达到93万平方公尺,位于则查洼沟的尽头。长海旁边的山峰终年积雪,四周森林珠翠,站在长海观台上看去,蓝天白云,皑皑峰雪尽收眼底,感觉山和天互相连接在一起,没有距离,这也是长海的一大景观。诗赋:映日雪山苍云横,接天古树碧波开。
(下图长海)
5、诺日朗瀑布
诺日朗瀑布海拔2365m,高24.5m,瀑宽320m,为后退式瀑布,后退速度为0.22m/年。
(下图诺日朗瀑布)
6、镜海
镜海位于树正沟和日则沟的交界处,海拔2390M,是九寨沟著名景点之一。它就像一面镜子,将地上和空中的景物毫不失真地复制到了水面。当晨曦初露,朝霞染红东方天际之时,海水一平如镜,蓝天、白云、雪山悉数被映放在海面,呈现出"鱼在云中游,鸟在水中飞"的奇观。
(下图镜海)
七、行程(仅供参考)
---
1、一日精华游(摘抄自九寨沟官网)
由于一天时间相对紧凑,建议早上早点出发进入景区,全程须采用观光车+步行的方式进行游览。具体线路如下:
【上午】
沟口乘车→原始森林(7:00-8:10 一个小时车程)
原始森林→芳草海(8:10-9:00 步行30分钟,游览时间20分钟)
芳草海→天鹅海(9:00-9:15 换乘观光车,约5分钟车程,游览时间10分钟)
天鹅海→箭竹海(9:15-9:45 换乘观光车,约15分钟车程,游览时间15分钟)
箭竹海→熊猫海(9:45-10:10 换乘观光车,约10分钟车程,游览时间15分钟)
熊猫海→五花海(10:10-10:40 换乘观光车,约10分钟车程,游览时间20分钟)
五花海→镜海(10:40-11:10 换乘观光车,约10分钟车程,游览时间20分钟)
镜海→诺日朗群海(11:10-11:25 换乘观光车,约5分钟车程,游览时间10分钟)
【中午】
诺日朗群海→诺日朗中心站(11:30-13:30诺日朗餐厅用餐,用餐和休息时间2个小时,可观赏诺日朗瀑布)
【下午】
诺日朗中心站→长海(13:30-14:20乘坐观光车,约30分钟车程,游览时间20分钟 )
长海→五彩池(14:20-14:50步行15分钟,游览时间15分钟 )
五彩池→犀牛海(14:50-15:40乘坐观光车,约30分钟车程,游览时间20分钟 )
犀牛海→老虎海→树正瀑布→树正磨房→树正寨→卧龙海→双龙海(15:40-17:00步行+乘车的方式,约1个多小时游览时间)
双龙海→盆景滩(17:00-17:20乘坐观光车,约10分钟车程,游览时间10分钟 )
盆景滩→沟口(17:00-17:35乘坐观光车,约15分钟车程 )
一天的游览对体能有所要求,因此来到九寨沟的第一天晚上可以好好休息,第二天游览完景区之后,可以去观赏九寨沟藏羌原生态的《藏谜》表演,体验不一样的民族风情。充实的一天伴随着愉快的回忆完美结束,晚上回到酒店放松身体好好休息一番,把这份九寨的美好带回家。
-
2、二日舒适游(摘抄自九寨沟官网)
两天的时间对于游览九寨沟来说恰到好处,初入高原的朋友,建议第一日尽量不进行剧烈的运动,所以第一天是适应期,主要游览则渣洼沟和树正沟,第二天则是徒步居多,主要游览九寨沟的精华日则沟。
【Day 1】
沟口乘车→长海→五彩池→诺日朗中心站→诺日朗瀑布→犀牛海→树正瀑布→树正群海→双龙海→芦苇海→盆景滩→出沟
第一天的游览时间很宽松,不会感到很疲惫,因此可以体验到丰富的娱乐活动,这里推荐您走进景区外的藏家乐,您能品尝到具有藏羌特色的地道饮食餐品:烤全羊,青稞酒,酥油茶,奶茶,手抓肉,羊排,牦牛肉等,前半场在藏家室内吃喝看表演,后半场在室外跳篝火锅庄,过程趣味十足。
【Day 2】
游客中心→原始森林→芳草海→天鹅湖→箭竹海→熊猫海→珍珠滩→五花海→诺日朗中心站→诺日朗瀑布→犀牛海→树正瀑布→树正群海→双龙海→芦苇海→盆景滩
第二天游览完后可以去到九寨天堂口,这里有特色藏羌歌舞、抛彩球、藏族傩戏、民间绝技等演出,还可以在此购买旅游纪念品,您也可以安排一场富有九寨沟藏羌民族原生态的《藏谜》表演,在一场气势恢宏的演出中体会到九寨原汁原味的文化,感受传承千年的故事和美丽的九寨沟传说。
-
3、三日多彩游(摘抄自九寨沟官网)
如果您时间充足,那么三天的时间您可以把九寨沟县城、九寨沟神仙池景区一并游览完。九寨沟县城比较小,可以悠闲地逛逛街,享受高原的时光;神仙池景区集九寨之秀、黄龙之奇于一身,整个景区被浩瀚的林海包围,古木参天,云雾蒸腾,有清澈明亮的高山湖泊、发育完好的大面积钙化景观、苍茫无边的原始森林在这里交融出奇妙的神韵。
【Day 1】
从九寨沟县城到九寨沟神仙池景区58公里的路程,驱车前往约1个半小时即可到达。
九寨沟神仙池景区景点:莲台映彩、青龙海、仙女池、金流泛波、莲花台、金银滩、瑶池、水帘洞、竹林幽径、翠绿海、万层滩、涌莲泉等。您可以选择乘坐景区双层敞篷式观光大巴,一览雪山、红叶、碧水、绿草,化旅途劳顿为轻松休闲。
游览完神仙池景区后,您可以驱车来到九寨沟景区的漳扎镇,寻找合适的酒店,办理入住后便可以早早的休息,为第二天的行程养精蓄锐。
【Day 2】
沟口乘车→长海→五彩池→诺日朗中心站→诺日朗瀑布→犀牛海→树正瀑布→树正群海→双龙海→芦苇海→盆景滩→出沟
一天的游览时间很宽松,不会感到很疲惫,因此可以体验到丰富的娱乐活动,景区外有众多藏家乐可供选择,在这里您能品尝到具有藏羌特色的地道饮食餐品:烤全羊,青稞酒,酥油茶,奶茶,手抓肉,羊排,牦牛肉等,前半场在藏家室内吃喝看表演,后半场在室外跳篝火锅庄,过程趣味十足。
【Day 3】
游客中心→原始森林→芳草海→天鹅湖→箭竹海→熊猫海→珍珠滩→五花海→诺日朗中心站→诺日朗瀑布→犀牛海→树正瀑布→树正群海→双龙海→芦苇海→盆景滩
第三天游览完后可以去到九寨天堂口,这里有特色藏羌歌舞、抛彩球、藏族傩戏、民间绝技等演出,还可以在此购买旅游纪念品,您也可以安排一场富有九寨沟藏羌民族原生态的《藏谜》表演,在一场气势恢宏的演出中体会到九寨原汁原味的文化,感受传承千年的故事和美丽的九寨沟传说。
-
-

 
                         
                















 
                     
                                 
                                 
                                 
                                 
        
此文章暂无评论